上泰电导率仪 (SC-110_基睿环保库存代理商)
SC-110

 

 

 

面板介绍

1 显示幕说明:

 

2 插座说明:

 

3 按键说明:

Power:电源开关,按一次开机再按关机,无任何动作 10 分钟后自动关机。

Mode:Cond./Res.、Salt、TDS 测量切换键,任何时候按此键均回到测量模式。

Cal:进入校正模式。

Autoread:(Auto read)各测量模式下自动判读键,按一次启动再按取消。

Up:选单向上或向左键、数值调整时速度由慢至快递增。

Down:选单向下或向右键、数值调整时速度由慢至快递减。

Enter:输入、确定、执行、RS-232 手动输出执行键。

Recall:手动资料读取启动、读值资料选择键。

Store:手动资料储存启动键。

Mode+Power:进入系统参数设定

Store+Power:清除全部储存资料

Cal+Power:系统重置

Enter+Mode:切换手动五档及自动档

Enter+Cal:进入校正参数设定

Enter+Store:进入自动连续储存设定

Enter+Recall:进入自动连续传送设定

 

操作

1 测量:

按Power键开启仪器,自动进入最后操作之测量模式,开始测量。

 

2 测量功能及档位切换:

1.按mode键在 Cond.模式下可切换 Cond.、Salt、TDS;在 Res. 模式下无此功能。

2.按enter +mode 键切换手动五档及自动档,当切至自动档时,AUTO 字符将显示三秒钟后消失。

备注:使用盐度与总溶解固体前须先依照电导度校正步骤校正完毕,再依照盐度及总溶解固体的标准液分别设定 Factor 值。

 

3 温度功能及补偿:

1.ATC:自动判定有无温度探棒,自动辨识 NTC30K 或 PT1000,可按up或down键做±5℃温度修正。同时按up down键回复至初始值。

2.MTC:未接温度探棒时自动进入 MTC 25℃,直接按up键或down键修正温度值。同时按up down键回复至默认值 25.0℃。

3. 温度补偿:因待测溶液的温度很可能不是 25℃,为标准化计,故将异于 25℃溶液的比电导度值计算至 25℃时的值,此即为温度补偿。

4. 依测量需要温度系数可选择线性(Lin)、非线性(nLin)、不补偿(0.00%)等三种温度补偿方式。设定方式请参照 4.4.3 的说明,使用者可依需要自行设定。

5. 温度系数(Temp. Coefficient 以下简称 TC),溶液之比电导度值会随温度上升而增加,且不尽相同。

6. 如何测得被测液之 TC:使用者如欲获得较高精度之测量值,可依照上述公式自行测量计算被测液的 TC 值后于主机上予以设定适当的 TC。以 0.01N Kcl 为例,将主机的TC 设定于不补偿(0.00%),将同一被测溶液分别控温于 25℃及 20℃,C25时测得数值 1413μS 就是 25℃的溶液比电导度值,Ct 时测得数值 1278μS 就是 20℃的溶液比电导度值,依照上列公式二计算即可得出:β=1.91%。

 

4 Auto Read 自动判读:

在测量模式下,按Autoread 键启动,再按Enter 键进行读取,续按Enter 键做下一个测量。

任何时候按Autoread 键或Mode 键返回测量模式。

 

 

设定

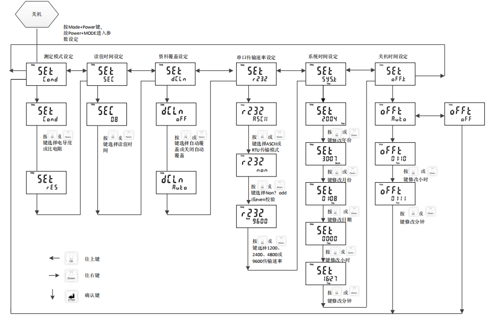
系统设定流程图一:

 

系统设定流程图二:

 

参数设定:

1 进入参数设定:

关机状态下,先按住Mode 键再按Power 键开机,然后先放开Power 键, 再放开Mode 键进入参数设定模式。利用Down Up键选择选单。

 

2 测量模式设定:

 

3 读值时间设定:

进入读值时间设定画面:

 

4 资料清除设定:

 

5 系统时间设定:

 

6 关机时间设定:

 

 

清除全部储存资料:

于关机状态下先按住Store 键不放,再按Power 键开机,先放开Power 键,再放开Store 键,

即可进入资料清除画面。

 

系统重置:

于关机状态下先按住Cal 键不放,再按Power 键开机,先放开Power 键,再放开Cal 键即

可进入系统重置画面。

 

校正参数设定:

开机状态下,先按住Enter 键再按Cal 键后,进入校正参数设定模式。利用Up Down键选择选单。

 

标准液校正参数设定:

(仅测量单位为电导度时可设)

 

自动/手动储存资料:

自动储存:

于测量模式下先按住Enter 键再按Store 键,进入自动连续储存设定模式。

 

手动储存:

于测量模式下按Store 键,进入手动储存画面。

 

资料满溢:

资料额满无法储存时,出现提醒闪烁画面,5 秒后自动回原测量模式

 

校正

标准液配置:

将分析纯氯化钾药剂放置 150℃~180℃的烘箱中烘培约 5 小时后,放于干燥皿中冷却至室温,秤 0.7456 克的氯化钾溶于 1 公升纯水中,即为 0.01mol/L 氯化钾标准液(1413uS/cm)。

 

进入校正模式:

温度系数对电导度的测值影响很大,建议校正时标准液的温度控制在25±3℃。校正时需等待测值、温度稳定后方可进行校正。

 

电极系数设定:

1. 当校正参数设定为电极系数设定模式时,在测量 模式下按Cal 键后进入电极系数设定画面,再按Enter 键进入下一 个画面。

 

2. 此时可按Up 或Down 键选择电极系数默认值,默认值共有四组分 别为 10.00、0.475、0.100、.0100(比电阻仅 0.100、.0100)以便 选择较适用之电极系数值,待选定适用之默认值后,再按 Enter 键进入下一个画面。

 

3. 此时电极系数值开始闪烁,可按Up 或Down 键调整电极系数值,修正测量值至已知之标准液数值,或直接设定已知之电极系数值后,再按Enter 键后返回测量模式。

 

 

 

RS232 通讯设置说明

主机与 Windows 下之超级终端机所作通讯之相关设置如下:

1.点选窗口左下角【开始】,选择【程序集】→【附属应用程序】→【通讯】→【超级终端机】,画面会出现”Hyper Terminal”之窗口。

2.于 Hyper Terminal 之 ICON 上设定图示及联机名称后进入”联机”窗口。

3.于”联机”窗口中之「使用联机(N):」选取通讯端口(例如选取「连接到 COM1」)后,进入”COM1 内容”窗口 。

4.于”COM1 内容”窗口之「每秒传输位(B):」选取波特率”4800”(此须与主机设定一致) 、 「资料位(D):」选取”8”(无论主机选择 ASCII 模式或 RTU 模式都选 8)、「同位检查(P):」选取”奇同位检查” (此须与主机设定一致) 、「停止位(S):」选取”1”(当同位检查选择奇校验或偶校验时选 1,无校验时选 2)、「流量控制(E)」选取”无”。

5.按【中断联机】之按键。

6.点选【档案】→【内容】后,进入”XXX 内容” 窗口。

7.点选【设定值】页中之【ASCII 设定】后,进入”ASCII 设定”窗口。

8.于”ASCII 设定”窗口中选取「在每行最后换行(S)」、「响应输入的字符(E)」、「再送进来的各行之最后加上 LF(A)」及「超过终端机宽度时就换行(W)」后,按【确定】离开”ASCII 设定”窗口。

9.再按【确定】离开”XXX 内容” 窗口。

10.按【呼叫】开始连接通讯。

 

 

 

MODBUS 通讯设置说明

1 引言:

SC110 采用标准 MODBUS 协议,支持 RTU 及 ASCII 传输模式,支持奇校验,偶校验,和无校验(当选择奇校验或偶校验时停止位选择 1,选择无校验时停止位选择 2),支持(2400,4800,9600)波特率,允许与具有兼容 MODBUS 协议的 PLC、RTU、SCADA 系统或 者第三方的监控软件之间进行信息和资料的有效传递,有了 SC110,就只要增加一套基于 PC(或者工控机)的中央通讯主控显示软件(如:力控、组态王、Intouch、FIX、Synall)就可以建立一套监控系统。仪器出厂默认值为:机器地址为 1,波特率为 9600,传输编码模式为 ASCII,校验方式为无校验 。

 

2 MODBUS 规则:

1 所有 RS-232 通讯回路都应遵照主/从方式,依照这种方式,资料可以在一个主站(如:PC 机)和从站(如:SC110)之间传递。

2 主站初始化和控制在 RS-232 通讯回路上传递的所有信息。

3 任何一次通讯都不能从子站开始。

4 RS-232 回路上所有通讯都以“信息帧”方式传递。

5 如果主站或子站接受到含有未知命令的信息帧,则不予以回应。

备注:信息帧是一个由资料帧(每一个字节就是一个资料帧)构成的字串(最多 255 个字节)。

 

3 资料帧格式:

通讯传输为异步方式,并以字节(资料帧)为单位。在主站和子站之间传递的每一个资料帧都是 11 位(MODBUS RTU)或 10 位(MODBUS ASCII)的串行资料流。

 

4 SC110 通讯规约:

当通讯命令发送到 SC110 时,符合相应的地址码的设备接受通讯命令,读取信息,如果没有出错,则执行相应的任务;然后把执行结果返回给发送者,返送的信息中包括

地址码,执行动作的功能码、执行动作后的资料以及错误校验码(CRC 或者 LRC)。如果出错就不发送任何信息。

 

5 通讯连接:

SC110 的 RS232 通讯口可使用普通屏蔽双绞线连接,在实验室,单机通讯比较简单,可考虑使用一般电缆代替。但在工程上应严格按照要求施工。

 

 

 

保养与维护

1 主机保养:使用储存时请保持干燥及通风良好的环境,外表有一般脏污时使用拧干的软质湿布擦拭表面,油污类请使用水蜡沾在软质布料上擦拭去污即可,严禁使用溶剂。

2 电池更换:

a. 工作时如主机出现 Lo Bat 符号并且测值与”Lo Bat”字样交替显示时,请更换新的干电池。

b. 先关闭仪器电源再用十字起子将仪器背面四颗螺丝拆除。

c. 打开背盖,将电池保护盖移开。

d. 取出旧电池,依照方向放入 4 颗新的 AA 电池。

e. 装回电池保护盖及背盖,锁上四颗螺丝即完成电池更换。

f. 注意!电池更换动作请在 20 秒内完成,否则日期资料将遗失,需重新设定。

3 电极保养:电极测量面上的附着物会影响测量值产生偏差及测量速度,使用时请注意清洗保养,清洗时可用软性毛刷或棉花棒清洗电极石墨表面。

 

 

 

 

服务热线:021-54000001 54000008 13296120587 18917238932 18017898823 传真:021-54000008 邮箱:sales@juovi.com

版权所有:基睿环保科技(上海)有限公司  上泰SC-110,电导率仪SC-110,手提便携式电导率测试仪SC-110

Copyright2011-2018 JuoviCorporation. All rights reserved 沪ICP备19012108号